分類
1、根據工業防水插座的用途區別,用于電纜且帶蓋的稱為插座,而用于受電設備上的被稱為輸入插座(插座、器具輸入插座請參考下圖所示)。

2、根據防護等級的不同可以分為IP44(防濺型)和IP67(防浸型)兩種(防濺型、防浸型請參考下圖所示)

3、根據接地出頭的不同可以分為有地極和無地極兩種,其中工業防水插座額定電壓大于50V都是有地極(小于50V為無地極);
4、根據安裝方式的不同可以分為明裝和安裝兩種(明裝式和暗裝式請參考下圖所示)其中明裝式配備盒子或者后座可直接固定在墻壁上,而暗裝的只能夠裝在面板上(板后接線);

5、根據聯鎖結構的不同可以分為機械聯鎖和電氣聯鎖兩種(機械聯鎖和電氣聯鎖請參考下圖);

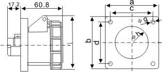
ZYY-3132 / ZYY-3232
16A:a-76 b-61 c-16 d-61 e-5.5 f-46 g-80
32A:a-76 b-61 c-20 d-74 e-5.5 f-60 g-98
ZYY-3142 / ZYY-3242
16A:a-76 b-61 c-17 d-61 e-5.5 f-53 g-84
32A:a-76 b-61 c-20 d-74 e-5.5 f-60 g-98
ZYY-3152 / ZYY-3252
16A:a-76 b-61 c-17 d-62 e-5.5 f-60 g-91
32A:a-76 b-61 c-22 d-73 e-5.5 f-60 g-102










