工業防水插頭插座的規格
額定電流:16A、32A、63A、125A
額定電壓:電壓等級根據50V為一個分界點,≤50V:紫色外殼(20~25V)、白色外殼(40~50V),>50V:黃色、藍色、紅色等多種顏色對應不同的電壓。
額定頻率:一般為50Hz
極數:根據額定電壓的50V為分界點;≤50V有2P和3P。>50V,有2P+、3P+、和3P+N+。
防水插頭和防水插座的防水等級
防水插頭插座的防護等級采用IP來表示,防濺型的防水插頭防護等級是IP44,而防浸型的則用IP67表示。為了保障使用的安全性需要根據實際需求去選擇不同等級的防水插頭插座,比如需要浸泡在水里的或者是有可能長時間碰到水源的可以考慮IP67的防水插頭插座,偶爾有可能碰到少許水滴的可以考慮IP44的防水插頭。防水性能越高當然是越安全,但是也沒有必要全部購買IP67防護等的產品,根據實際情況進行考慮即可。
工業防水插頭插座的分類
根據用途分:用在供電線路上并且有蓋子的,一般稱為工業插座,還有一些是用在受電設備上的稱為器具插座。
根據防護等級分:IP67和IP44。
根據接地鋤頭的結構分:有地極和無地極。按照額定電壓50V來作為分界線,額定電壓大于50V的都是有地極,而小于的則都屬于無地極。
按照安裝方式分:暗裝工業插頭和明裝工業插頭,考慮實際情況選擇,暗裝工業插頭會相較更加美觀一些。
按照連鎖結構分:機械聯鎖插座和電氣聯鎖插座。

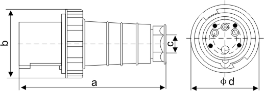
ZYY-033 ZYY-043
63A:a-231.5 b-110 c-16-38 Φ-110
125A:a-293 b-125 c-30-50 Φ-125

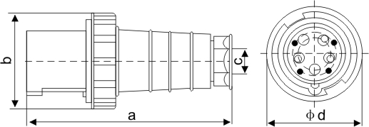
ZYY-034 ZYY-044
63A:a-231.5 b-110 c-16-38 Φ-110
125A:a-293 b-125 c-30-50 Φ-125

ZYY-035 ZYY-045
63A:a-231.5 b-110 c-16-38 Φ-110
125A:a-293 b-125 c-30-50 Φ-125










