近些年隨著越來越多的人選購工業插頭插座產品,在和顧客溝通交流的過程中發現,不管是工礦、地鐵、工程還是經銷商等都對工業插頭的了解程度遠遠不夠,特別是對一些工業插頭防水等級、參數等更是一竅不通。這里我們就帶著大家從工業插頭的特點開始為大家詳細介紹。
工業插頭插座在我國的發展
工業上所使用的插頭插座、耦合器可以詳細分為插頭、插座、器具輸入插座、連接器等四種,一般大家為了說著更加方便統一稱之為工業插頭(具體產品分類圖片可參考下圖所示)。

我國關于工業防水插座的標準最早出現在1989年GB/T 11918~11919-1989《工業用插頭插座和耦合器》,但是當時國內還有廠家在生產工業插頭插座產品。那么我們自己生產不了需要使用就只能進口了,但是當時進口這些工業產品耗費金錢和時間,但是國內生產不出來只能自己想辦法解決插頭需求問題了,當時的工程師技術人員就想到我們不用插頭直接把電纜接到開關上。直到20世紀90年代中期通過中外合資等多種途徑,我們國內廠家才開始生產銷售各類工業插頭插座。


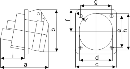
ZYY-413-4 ZYY-423-4
16A:a-73 b-70 c-62 d-50 e-49 f-33 g-47 h-56 i-36 j-5
32A:a-87 b-91 c-80 d-64 e-71 f-42 g-61 h-76 i-44 j-6







